- En stock
- En cours d’approvisionnement
- Rupture de stock, nous contacter
Filtre :
Vue éclatée en cours : 01
|
|
N° | Code produit | Désignation | Statut | De série | Qté / Machine | Prix unitaire TTC | |
|---|---|---|---|---|---|---|---|---|
| Pièces détachées | ||||||||
| 20199050 | VENTILATEUR POUR TRONCONNEUSE TV 350
Présent sur outils : |
1 | 66.72 € |
–+ Ajouter
|
||||
| 20199052 | BOITIER VIDE (NOIR) P/CONTACT. DISJ.NX MODELE DE TV 350-400
Présent sur outils : |
1 | 61.92 € |
–+ Ajouter
|
||||
| 20199091 | CLE 6 PANS 12 POUR TV350/400
Présent sur outils : |
1 | 25.2 € |
–+ Ajouter
|
||||
| 20199102 | BROCHE DE BRANCHEMENT COTE POIGNEE INTER.P/TRONCONNEUSE
Présent sur outils : |
1 | 55.32 € |
–+ Ajouter
|
||||
| 20199105 | CLE PLATE DE 41
Présent sur outils : |
1 | 57.36 € |
–+ Ajouter
|
||||
| 20199391 | RONDELLE ELASTIQUE D.50-41X0,5 P/COMPENSATION MOTEUR DE T315
Présent sur outils : |
1 | 21.24 € |
–+ Ajouter
|
||||
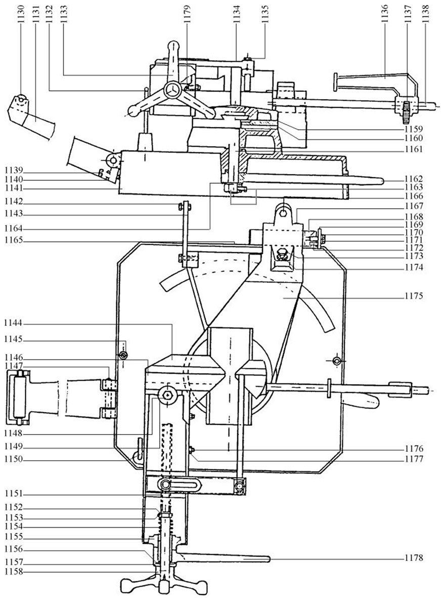
| 1 093 | 20199043 | BRAS DE CARTER AVEC 1/2 LUNE P/TRONCONNEUSE TV350 -REP.1993
Présent sur outils : |
1 | 81.12 € |
–+ Ajouter
|
|||
| 1 098 | 20199284 | CARTER DE COURROIES POUR TRONCONNEUSE TV 350 OU TV 400
Présent sur outils : |
1 | 407.76 € |
–+ Ajouter
|
|||
| 1 099 | 20199224 | COURROIE P/TRONCONNEUSE TV 350 OU TV 400 (A48 13X1220)
Présent sur outils : |
1 | 34.32 € |
–+ Ajouter
|
|||
| 1 100 | 20199079 | POULIE MOTEUR POUR TRONCONNEUSE TV 350
Présent sur outils : |
1 | 174.96 € |
–+ Ajouter
|
|||
| 1 103 | 20199106 | POULIE COTE BROCHE POUR TRONCONNEUSE TV 300 OU TV 350
Présent sur outils : |
1 | 162.6 € |
–+ Ajouter
|
|||
| 1 107 | 20199046 | COUVERCLE DE TETE (DE MAINTIEN DE RLTS)REP.1107 P/TRONC.TV350
Présent sur outils : |
1 | 70.08 € |
–+ Ajouter
|
|||
![]() |
1 108 | 20199221 | ROULEMENT 6206-2Z
Présent sur outils : |
1 | 52.8 € |
–+ Ajouter
|
||
| 1 111 | 20199177 | INTERRUPTEUR CADENASSABLE POUR TRONCONNEUSE TV 300L/300/350
Présent sur outils : |
1 | 116.04 € |
–+ Ajouter
|
|||
| 1 114 | 20199128 | MOTEUR POUR TRONCONNEUSE TV 350
Présent sur outils : |
1 | 1522.8 € |
–+ Ajouter
|
|||
| 1 115 | 20199111 | CARTER VENTILATEUR POUR TRONCONNEUSE TV 350 OU TV 400
Présent sur outils : |
1 | 116.04 € |
–+ Ajouter
|
|||
![]() |
1 121 | 20199190 | ECROU DE BLOCAGE DE DISQUE P/TRONCONNEUSE TV 300-350-400
Présent sur outils : |
1 | 75.24 € |
–+ Ajouter
|
||
| 1 123 | 20199396 | AXE DE BROCHE COMPLET POUR TRONCONNEUSE TV 350
Présent sur outils : |
1 | 511.56 € |
–+ Ajouter
|
|||
| 1 124 | 20199063 | CIRCLIPS DE CARTER POUR TRONCONNEUSE STATIONNAIRE
Présent sur outils : |
1 | 4.5 € |
–+ Ajouter
|
|||
| 1 125 | 20199389 | VIS FIXATION CARTER P/TRONC. TV 350 - REP.727
Présent sur outils : |
2 | 2.18 € |
–+ Ajouter
|
|||
![]() |
1 130 | 20199070 | ROULEAU SUPPORT DE PIECES POUR TRONC.T315-350,TV300-350-400
Présent sur outils : |
1 | 39.84 € |
–+ Ajouter
|
||
| 1 131 | 20199267 | SUPPORT DE PIECES POUR TRONC. T 315-350 OU TV 300-350 OU 400
Présent sur outils : |
1 | 176.16 € |
–+ Ajouter
|
|||
| 1 134 | 20199255 | DOUBLE ETAU POUR TRONCONNEUSE 315 OU TV 300 (EQUERRE)
Présent sur outils : |
1 | 153 € |
–+ Ajouter
|
|||
| 1 136 | 20199100 | BUTEE DE MESURE (EN PLASTIQUE) POUR TRONC.T315/350 TV350/400
Présent sur outils : |
1 | 77.04 € |
–+ Ajouter
|
|||
| 1 136 | 20199164 | BUTEE DE MESURE (EN FONTE)POUR TRONC.T315-350,TV350-400+SCIES
Présent sur outils : |
1 | 77.04 € |
–+ Ajouter
|
|||
| 1 138 | 20199051 | TIGE SUPPORT DE BUTEE DE MESURE P/T315-350-TV350-400
Présent sur outils : |
1 | 140.88 € |
–+ Ajouter
|
|||
| 1 143 | 20199044 | PIED D'ARTICULATION REP.1143 POUR TRONCONNEUSE TV 350
Présent sur outils : |
1 | 40.56 € |
–+ Ajouter
|
|||
| 1 144 | 20199217 | ETAU COMPLET DE TRONCONNEUSE T315/TV350 (PLATEAU PIVOTANT)
Présent sur outils : |
1 | 1771.2 € |
–+ Ajouter
|
|||
| 1 146 | 20199098 | MORS MOBILE D'ETAU POUR TRONCONNEUSE T 315
Présent sur outils : |
1 | 135.24 € |
–+ Ajouter
|
|||
| 1 149 | 20199071 | RONDELLE SUPERIEURE D'ETAU DE MAITIEN DE MORS P/T315-350-TV
Présent sur outils : |
1 | 11.82 € |
–+ Ajouter
|
|||
| 1 154 | 20199061 | RESSORT VIS SANS FIN ETAU P/ TRONC.T275-315/TV300-350/FS315
Présent sur outils : |
1 | 19.44 € |
–+ Ajouter
|
|||
| 1 155 | 20199239 | NOIX D'ETAU P/TRONC.T315-TV350 REP.1155 OU TV 300 ANC.MOD.
Présent sur outils : |
1 | 90 € |
–+ Ajouter
|
|||
| 1 157 | 20199256 | GOUPILLE VOLANT ETAU P/TRONC. T275-315 FS315 OU SCIE A RUBAN
Présent sur outils : |
1 | 6.68 € |
–+ Ajouter
|
|||
| 1 158 | 20199125 | VOLANT DE SERRAGE D'ETAU POUR T275-TV300L-TV350-TV400-AXE 16
Présent sur outils : |
1 | 67.8 € |
–+ Ajouter
|
|||
| 1 162 | 20199124 | LEVIER DE BLOCAGE DE TETE POUR TRONCONNEUSE T 315 OU T 350
Présent sur outils : |
1 | 128.28 € |
–+ Ajouter
|
|||
| 1 165 | 20199236 | GOULOTTE D'EVACUATION POUR TRONCONNEUSE TV 350
Présent sur outils : |
1 | 192.36 € |
–+ Ajouter
|
|||
| 1 175 | 20199263 | SUPPORT DE TETE REP.1174 POUR TRONCONNEUSE TV 350
Présent sur outils : |
1 | 633 € |
–+ Ajouter
|
|||
| 1 176 | 20199282 | LARDON D'ETAU (AVEC TROUS)POUR TRONCONNEUSE T 315 OU TV 350
Présent sur outils : |
1 | 42.72 € |
–+ Ajouter
|
|||
| 1 178 | 20199218 | LEVIER BLOCAGE ETAU (REP.1662) P/TRONC.T 275-315 TV 300 FS315
Présent sur outils : |
1 | 144.12 € |
–+ Ajouter
|
|||
![]() |
1091+1092 | 20199108 | BRAS COMPLET AVEC INTER. POUR TRONCONNEUSE NOUVEAU MODELE
Présent sur outils : |
1 | 126.36 € |
–+ Ajouter
|
||
| 1117+1119 | 20199143 | JEU DE FLASQUES DE SERRAGE DE DISQUE POUR TRONCONNEUSE TV350
Présent sur outils : |
1 | 104.88 € |
–+ Ajouter
|
|||
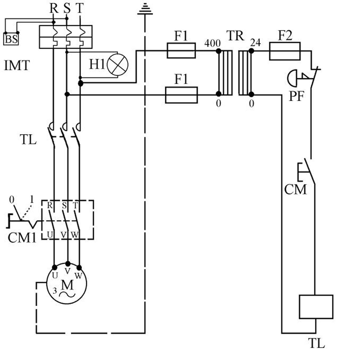
| F1 | 20199081 | PORTE FUSIBLE POUR BOITIER ELECTRIQUE NX MODELE DE TRONC.
Présent sur outils : |
1 | 23.28 € |
–+ Ajouter
|
|||
![]() |
F1 | 20199174 | FUSIBLE 10*38 /2A
Présent sur outils : |
2 | 11.82 € |
–+ Ajouter
|
||
| IMT | 20199123 | CONTACTEUR LMS 25 10/16 AMP. POUR TRONCONNEUSE TV 350
Présent sur outils : |
1 | 428.52 € |
–+ Ajouter
|
|||
| IMT | 20199127 | CONTACTEUR DISJONCTEUR POUR TONCONNEUSE TV 350 (+BOITIER)
Présent sur outils : |
1 | 394.2 € |
–+ Ajouter
|
|||
| PF | 20199104 | INTERRUPTEUR COUP DE POING POUR TRONCONNEUSE
Présent sur outils : |
1 | 89.64 € |
–+ Ajouter
|
|||
![]() |
TR | 20199113 | TRANSFORMATEUR 20VA POUR TRONC .T275-315-350 - TV 300/350/400
Présent sur outils : |
1 | 109.92 € |
–+ Ajouter
|
||
| Aucune Pièce détachée sur cette vue | ||||||||
| Accessoires | ||||||||
![]() |
20198453 | TABLE 1 M D'AMENAGE
Présent sur outils : |
1 | 961.32 € | Nous Contacter ! | |||
![]() |
20198454 | TABLE 2 M D'AMENAGE
Présent sur outils : |
1 | 1107 € | Nous Contacter ! | |||
![]() |
20198455 | RALLONGE DE TABLE 2 M D'AMENAGE
Présent sur outils : |
1 | 961.32 € | Nous Contacter ! | |||
![]() |
20198456 | REGLE 1 M POUR TABLE DE SORTIE
Présent sur outils : |
1 | 167.52 € |
–+ Ajouter
|
|||
![]() |
20198457 | REGLE 2 M POUR TABLE DE SORTIE
Présent sur outils : |
1 | 189.36 € |
–+ Ajouter
|
|||
![]() |
20198458 | REGLE 3 M POUR TABLE DE SORTIE
Présent sur outils : |
1 | 254.88 € |
–+ Ajouter
|
|||
![]() |
20198459 | REGLE 4 M POUR TABLE DE SORTIE
Présent sur outils : |
1 | 313.2 € |
–+ Ajouter
|
|||
| Aucun Accessoire sur cette vue | ||||||||
| Consommables | ||||||||
| Aucun consommable sur cette vue | ||||||||
Produit ajouté au panier
Besoin d’aide ?
Contactez notre service client
au 02 54 74 02 16
Disponible du lundi au vendredi
de 8h à 12h et 13h30 à 17h30
Livraison et frais de transport
Livraison de 24h à 72h
À domicile ou en relais colis
(Frais de port gratuits à partir de 250,00 € HT / 300,00 € TTC)
Paiement et sécurité
CB sécurisé en ligne
avec le Crédit Mutuel
Service clients
Suivi de commande
Satisfait ou remboursé












